手排不死?Porsche 新專利曝光 可切換自排模式
2026-03-19 12:45
- 小
- 中
- 大
圖、文/小7車觀點Porsche 近年在變速系統上的策略,一直圍繞在性能與駕駛體驗之間取得平衡。回顧過去,原廠在 13 年前於 991 世代 911 GT3 上取消 6 速手排,全面改採 7 速 PDK 雙離合器變速箱,當時曾引發市場與車迷強烈反彈,也促使 Porsche 在後續 991.2 世代重新導入手排設定,並延續至多款 911 車型之中。
圖、文/小7車觀點
Porsche 近年在變速系統上的策略,一直圍繞在性能與駕駛體驗之間取得平衡。回顧過去,原廠在 13 年前於 991 世代 911 GT3 上取消 6 速手排,全面改採 7 速 PDK 雙離合器變速箱,當時曾引發市場與車迷強烈反彈,也促使 Porsche 在後續 991.2 世代重新導入手排設定,並延續至多款 911 車型之中。

不過隨著電動化趨勢加速推進,傳統手排變速箱的生存空間逐漸受到壓縮。儘管近年部分市場出現小幅回溫,但整體而言仍屬於過渡性產品。在這樣的趨勢之下,Porsche 最新曝光的一項專利申請,則為手排未來提供另一種可能性。
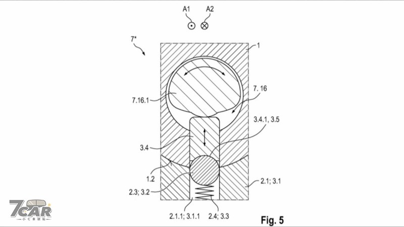
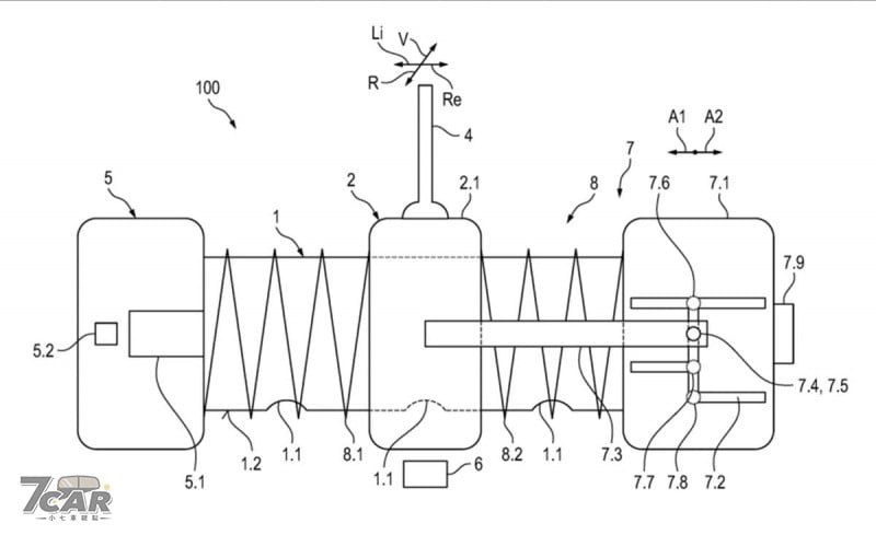
根據資料顯示,這項專利於 2024 年 8 月提出,並於近期正式公開。其核心概念在於結合手排與自排的操作邏輯,打造一套可切換模式的變速系統。簡單來說,駕駛可在日常使用時選擇自排模式,透過排檔桿前後操作切換 Drive、Neutral 與 Reverse,而在需要更高駕駛參與感時,則可切換至 H 型檔位配置,模擬傳統手排的操作方式。


這樣的設計概念並非首次出現,Koenigsegg 先前在 CC850 等車款上已導入類似機制。該系統透過複雜的機械結構與電子控制,讓車輛可在自排與 6 速手排之間切換,同時保留離合器踏板與排檔操作,提供更接近傳統手排的駕駛回饋。
然而,這類變速系統在技術層面具備相當高的開發難度與成本。以 Koenigsegg 為例,其變速箱採用多組離合器與複雜傳動軸設計,並透過電子系統模擬離合器腳感與換檔回饋,整體工程成本極高,通常僅適用於高價限量超跑。

相較之下,Porsche 若要將類似系統導入量產車型,則必須考量更嚴格的成本與可靠性條件。尤其現行手排與 PDK 變速箱已具備成熟表現與市場接受度,若新系統無法在成本與效益之間取得平衡,導入難度將會明顯提高。
不過從產品策略角度來看,Porsche 客群對於駕駛參與感仍有一定需求,同時也有消費者偏好 PDK 帶來的便利性。若能透過單一變速系統同時滿足兩種使用情境,對於產品規劃與市場布局將具備一定吸引力。
整體而言,這項專利雖尚未確認是否會導入量產,但已反映出 Porsche 對於手排未來發展的持續關注。在電動化浪潮持續擴大的情況下,如何延續駕駛樂趣並兼顧實用性,仍將是傳統性能品牌面臨的重要課題。
免責聲明:本文為合作外稿授權《民視新聞網》原文轉載,如對內文有任何疑問請逕與原作單位確認。
【原文出處】:手排不死?Porsche 新專利曝光 可切換自排模式
延伸閱讀

導入 STLA Medium 平台、全新 DS N°7 正式發表
2026-03-19 12:14
{PLAYICON}「航空界奧斯卡」頒獎!桃機躍升第24名 蟬聯「最佳行李運送獎」
2026/03/19 09:30:50

鎖定 Model 3 級距、導入 800V 架構,Mercedes-Benz 全新 C-Class
2026-03-19 13:15
{PLAYICON}90%的人腎出問題不自知!醫曝「5大警訊」 出現恐已到末期
2026/03/19 10:14:25

毒駕零容忍!內政部擬加重罰責 全車連坐罰、累犯列「預防性羈押」
2026-03-19 14:50
{PLAYICON}【有片】伊朗重創卡達全球最大液化天然氣設施 油價一度飆破110美元
2026/03/19 09:48:50
